بررسی تخصصی آی سی درایور BTS6143D در نود FCM اکوماکس کروز
یکی از قطعات در نود FCM اکوماکس کروز ، آیسیهای "هایساید سوئیچ" (High Side Switch) هستند. در این مقاله، به بررسی فنی و دقیق آیسی BTS6143D ساخت شرکت Infineon میپردازیم. این مقاله بر اساس اطلاعات دقیق دیتاشیت این قطعه تدوین شده است.
آی سی BTS6143D چیست؟
قطعه BTS6143D یک سوئیچ قدرت هوشمند (Smart High-Side Power Switch) تک کاناله است که در پکیج TO-252-5 (یا همان DPAK 5 پایه) عرضه میشود. این آیسی برای کنترل بارهای الکتریکی با جریان بالا (مانند لامپها،کمپرسور کولر و ...) طراحی شده است و میتواند ولتاژ مثبت باتری را به مصرفکننده برساند.
تکنولوژی ساخت این قطعه N-channel Vertical Power FET است که همراه با مدارات محافظتی و پمپ شارژ (Charge Pump) داخلی طراحی شده است.
مشخصات کلیدی برای تعمیرکاران
هنگام تست یا جایگزینی این قطعه، دانستن پارامترهای زیر از دیتاشیت ضروری است:
ولتاژ کاری: این آیسی میتواند در ولتاژهای بین 5.5 تا 38 ولت به درستی کار کند. این یعنی در خودروهای سواری (12 ولت) و حتی کامیونتهای سبک (24 ولت) قابل استفاده است.
مقاومت داخلی (RDS-on): یکی از مهمترین فاکتورهاست. مقاومت این آیسی در حالت روشن حدود 10 میلیاهم است. هرچه این عدد کمتر باشد، آیسی کمتر داغ میکند.
جریان نامی: جریان کاری نرمال این قطعه بالا است اما محدودیت جریان اتصال کوتاه آن (Short Circuit Current Limitation) حداقل 48 آمپر است. یعنی اگر جریانی بیش از این حد کشیده شود، آیسی وارد حالت حفاظت میشود.
ویژگیهای حفاظتی (Protective Functions)
چرا در طراحی FCM به جای یک ماسفت یا رله معمولی از BTS6143D استفاده میشود؟ پاسخ در ویژگیهای حفاظتی هوشمند آن است که تعمیرکار باید آنها را بشناسد:
حفاظت در برابر اتصال کوتاه (Short Circuit Protection): اگر خروجی آیسی به بدنه اتصال کند، آیسی نمیسوزد بلکه جریان را محدود کرده و خاموش میشود.
حفاظت دمایی (Thermal Shutdown): اگر دمای آیسی بیش از حد بالا رود (حدود 150 تا 175 درجه سانتیگراد)، قطعه به صورت خودکار قطع میشود تا خنک شود. این ویژگی اغلب با رفتار "Restart" همراه است؛ یعنی پس از خنک شدن دوباره تلاش میکند روشن شود.
حفاظت در برابر اضافه ولتاژ (Overvoltage Protection): این آیسی میتواند ولتاژهای لحظهای (Load Dump) تا 42 ولت را تحمل کند که برای محیط پر نویز خودرو حیاتی است.
محافظت در برابر اتصال معکوس باتری: طبق دیتاشیت، این آیسی دارای محافظت Reverse Battery است، اما توجه کنید که در این حالت ماسفت داخلی روشن میشود و جریان معکوس عبور میکند که میتواند باعث گرم شدن بار شود.
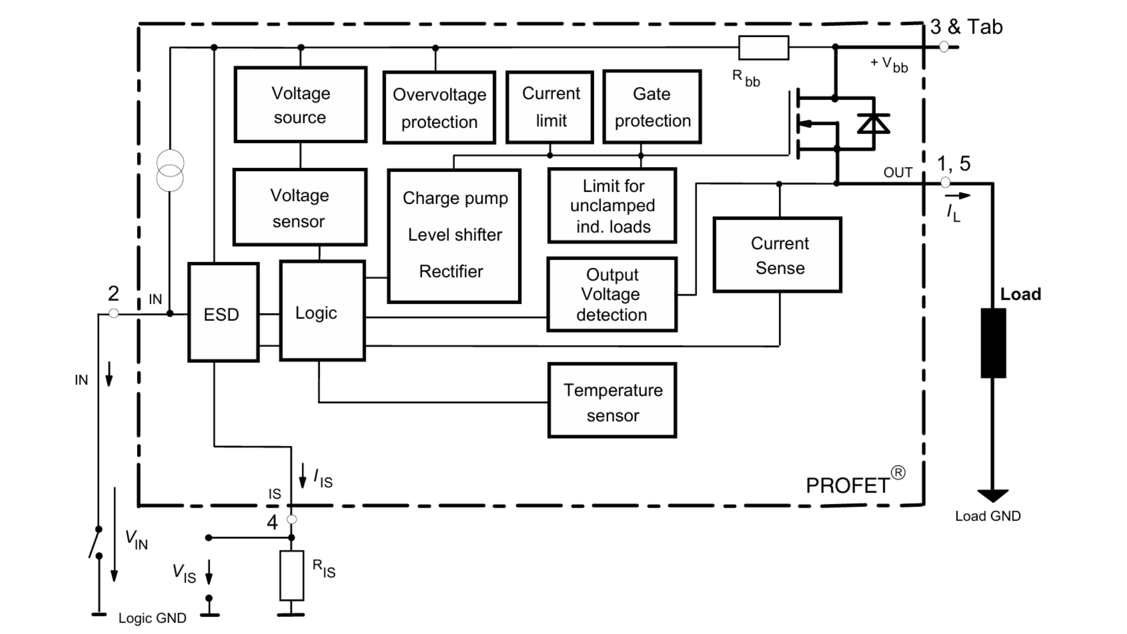
بررسی پایهها (Pin Configuration)

شناخت پایهها برای عیبیابی روی برد بسیار مهم است. پکیج این قطعه 5 پایه دارد اما پایه 3 (TAB) به پایه وسط (پایه 3 فیزیکی) متصل است.
پایه 1 (GND): زمین منطقی مدار. این پایه معمولا با یک مقاومت سری به زمین وصل میشود تا در برابر ولتاژ معکوس محافظت شود.
پایه 2 (IN): ورودی سیگنال. این پایه مستقیماً یا با یک مقاومت از میکروکنترلر فرمان میگیرد. لاجیک این پایه ولتاژ بالا (High Active) است؛ یعنی با ولتاژ 3.3 یا 5 ولت روشن میشود.
پایه 3 (Vbb): این همان بدنه فلزی پشت آیسی و پایه وسط است که به برق مثبت اصلی (تغذیه باتری) متصل میشود.
پایه 4 (IS): پایه سنس جریان (Current Sense). این پایه بسیار مهم است. آیسی از این طریق فیدبک جریان خروجی را به میکروکنترلر میدهد تا میکرو بفهمد مصرفکننده (مثلاً لامپ) سالم است یا سوخته.
پایه 5 (OUT): خروجی که به سمت مصرفکننده (Load) میرود.
نکات طلایی تعمیراتی برای BTS6143D

با تکیه بر تجربه تعمیراتی و تحلیل دیتاشیت، به این نکات هنگام مواجهه با خرابی این قطعه دقت کنید:
1. تست پایه سنس (IS): یکی از خرابیهای شایع، قطع شدن مسیر پایه 4 است. اگر این مسیر قطع شود، نود خطای "Open Load" یا "Short Circuit" را در دیاگ نشان میدهد، حتی اگر لامپ یا عملگر سالم باشد. چون میکروکنترلر فیدبکی دریافت نمیکند. در حالت عادی، ولتاژ این پایه متناسب با جریان خروجی تغییر میکند.
2. خرابیهای حرارتی: اگر آیسی روی برد به شدت داغ میکند اما خروجی دارید، احتمالا مقاومت داخلی (RDS-on) به دلیل فرسودگی یا کیفیت پایین قطعه تعویضی بالا رفته است. همچنین بررسی کنید که پد مسی زیر آیسی (که نقش هیتسینک را دارد) کاملاً به برد لحیم شده باشد.
3. رفتار هنگام اتصال کوتاه: اگر در خودرویی اتصال کوتاه رخ دهد، BTS6143D ممکن است به صورت پالس (خاموش و روشن شدن سریع) عمل کند. این رفتار طبیعی سیستم حفاظتی است و لزوماً به معنای خرابی آیسی نیست. قبل از تعویض آیسی، سیمکشی خودرو را چک کنید.
4. جایگزینی: در صورت پیدا نکردن این شماره، میتوانید از مشابهات سری BTS با جریان و مقاومت مشابه استفاده کنید، اما حتماً به "پایه سنس" دقت کنید. برخی مدلها در پایه 4 به جای گزارش جریان، فقط گزارش خطا (Status Flag) میدهند که با این مدل سازگار نیستند. BTS6143D دارای قابلیت Current Sense است.
جمعبندی
آی سی BTS6143D یک درایور قدرتمند و هوشمند است که فراتر از یک رله عمل میکند. توانایی آن در گزارش میزان جریان به میکروکنترلر و حفاظتهای چندگانه، آن را به گزینهای ایدهآل برای FCM تبدیل کرده است. برای تعمیرکاران، بررسی دقیق ولتاژ پایه ورودی (IN) و ولتاژ برگشتی روی پایه (IS) کلید اصلی عیبیابی مدارهای مرتبط با این قطعه است.













